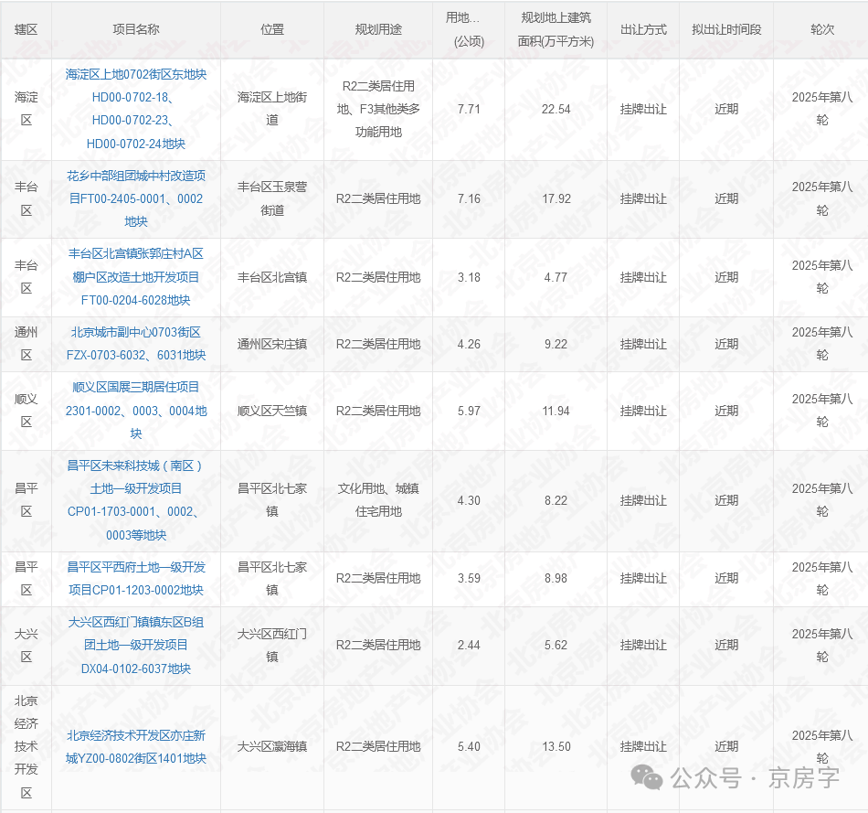
10月16日,北京市规划和自然资源委员会网站发布了2025年第八轮拟供应商品住宅用地清单,共涉及9宗地,土地面积约44公顷,建筑规模约103万平方米,上述用地拟于近期供应。
本轮推出的地块全部位于市场需求突出、基础设施和公共服务配套较完善的区域。从区域分布来看,中心城区3宗(海淀区1宗、丰台区2宗)、副中心及平原多点地区6宗(通州区1宗、昌平区2宗、顺义区、大兴区、经济开发区各1宗)。具体如下:
一、海淀区上地0702街区东地块HD00-0702-18、HD00-0702-23、HD00-0702-24地块,位于海淀区上地街道,五环至六环之间,邻近地铁13号线和昌平线换乘站清河站。周边有BHGMall上地店、北京清河万象汇、中发百旺商城、北京市上地医院、北京积水潭医院(新龙泽院区)、上地公园、树村郊野公园、厢黄旗公园等,生活配套成熟。
二、丰台区花乡中部组团城中村改造项目FT00-2405-0001、0002地块,位于丰台区玉泉营街道,三环至四环之间,邻近地铁房山线花乡东桥站、地铁10号线与房山线换乘首经贸站。地块周边有首都医科大学附属北京天坛医院、北京口腔医院、天坛生活广场、花乡奥莱村、纪家庙公园,生活配套完善。
三、丰台区北宫镇张郭庄村A区棚户区改造土地开发项目FT00-0204-6028地块,位于丰台区北宫镇永定河西地区,五环至六环之间,邻近地铁14号线张郭庄站。毗邻园博园,周边有首联世纪生活广场、金瑞天霖等购物中心,生活配套较完善。
四、北京城市副中心0703街区FZX-0703-6032、6031地块,位于通州区宋庄镇,六环外。周边有谷德玛特购物广场、首开通州万象汇、华联购物中心(六合新村店)、首都医科大学附属北京安贞医院通州院区、路县故城遗址公园、潞城中心公园、减河公园等,生活配套完善。
五、顺义区国展三期居住项目2301-0002、0003、0004地块,位于顺义区天竺镇,五环至六环之间,邻近地铁15号线花梨坎站,交通便捷。周边有中粮祥云小镇、欧陆广场购物中心、北京友谊医院(顺义院区)、兴峪城市森林公园(西园区),生活配套完善。
六、昌平区未来科技城(南区)土地一级开发项目CP01-1703-0001、0002、0003地块,位于昌平区北七家镇,五环至六环之间,邻近17号线未来科学城站。周边有北京王府中西医结合医院、未来科学城滨水公园、北京温榆河公园、北七家休闲公园等,生活配套完善。
七、昌平区平西府土地一级开发项目CP01-1203-0002地块,位于昌平区北七家镇,五环至六环之间,邻近地铁8号线平西府站。周边有首开LONG街、禧乐汇、水城广场、北京积水潭医院(回龙观院区)、畅悦公园、秀水湖公园、未来科学城生态休闲公园等,生活配套完善。
八、大兴区西红门镇镇东区B组团土地一级开发项目DX04-0102-6037地块,位于大兴区西红门镇,四环至五环之间,邻近规划地铁19号线二期西红门东站。周边有北京荟聚、西红门新光界、山姆会员商店、西红门生态公园、新三余公园等,生活配套较完善。

Copyright © 2006-2020 北京房地产业协会 由居安易家管理咨询(北京)有限公司维护 京ICP备14059816号-1
京公网安备 11010102004376号